37 toro zero turn drive belt diagram
Toro P 50" Timecutter 3 Blade Kit. I need a drive belt diagram for a toro ss zero turn mower. Posted by Anonymous on Jul 27, Want Answer 0. Clicking this will make more experts see the question and we will remind you when it gets answered. Toro TimeCutter SS 50 in. 22HP Smart Speed V-twin Zero-Turn Riding Mower; Open Questions. TORO TIMECUTTER Z SERVICE MANUAL Table of Contents - Page 1 of 2 QUICK REFERENCE ... 4404). For information on the hydrostatic drive units, refer to the Integrated Zero-Turn Transaxle Service and Repair Manual (492-4737). For information specific to the engines used on this unit, refer to the appropriate ... Transaxle Drive Belt drive with ...
The Toro Zero Turn lawnmower with 50-inch mower deck makes short work out of most lawns. It turns on a dime, reducing the amount of time needed to finish a year. Like a lawn tractor, the Toro Zero turn has a suspended mower deck driven by a drive belt. After a few years of use, the drive belt will deteriorate and require replacement.

Toro zero turn drive belt diagram
The driving belt slipped on my Toro Timecutter SS4225 42 in. zero turn riding mower. 1. I need reliable instructions on how to access the drive belt and a diagram showing how the belt is installed. 2. In addition, the mounting bolt for the electric clutch won't come out. Sunshade, Zero-Turn-Radius Riding Mower Model #: 117-5319 54in/60in Striping Kit, Zero-Turn-Radius Riding Mower ... Toro Product Type Riding Products Product Series Zero Radius Turn, Consumer ... Drive System: Ground Speed Fwd. 0 - 7.5 Rev. 0 - 3.8 mph Toro Timecutter Mx5050 Drive Belt Diagram Read Toro Timecutter Mx5050 Drive Belt Diagram PDF on our digital library. 18.11.2018 18.11.2018 6 Comments on Toro Mx5000 Wiring Diagram. Be sure to read your owners manual for full details before you start. How to replace a troybuilt zero turn mower drive belt in under 3 min the easy way. 54460 .
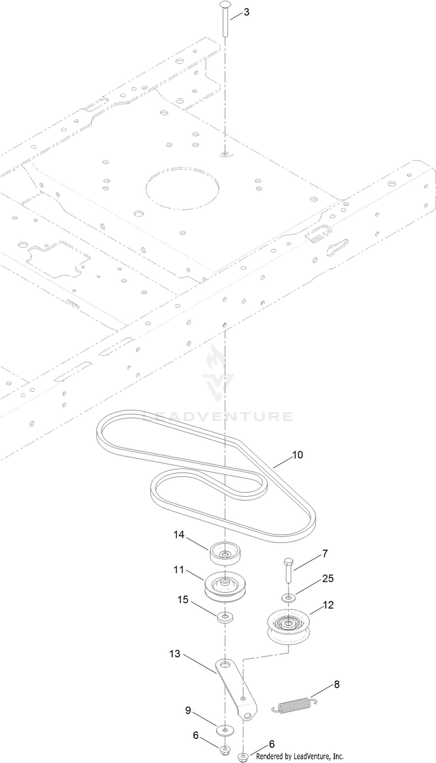
Toro zero turn drive belt diagram. Toro repair parts and parts diagrams for Toro 74624 (SS 4235) - Toro 42" TimeCutter Zero-Turn Mower (SN: 311000001 - 311999999) (2011) Order Status Customer Support 512-288-4355 My Account Login to your PartsTree.com to view your saved list of equipment. These Toro Riding Mower Parts may include: Tune Up Kit, Spark Plug, Mower Blades, Traction Drive Belt, Transmission Belt, Mower Drive Belt, Batery, and Air Filters. If you need help finding Toro Lawn Tractor Parts Search Using Weingartz Illustrated Diagrams to view an illustrated diagram or call us at 1-855-669-7278. Toro Timecutter Z4200 Drive Belt Diagram Over time the drive belt that controls the blades may wear out. Toro timecutter ss5000 drive belt diagram. 22hp smart speed v twin zero turn riding mower. 79019 50in recycler kit 2007 and after riding mower. You can check online for the correct belt for the model number of your mower or have your lawn. Do you have a routing diagram for the drive belt on a Toro model 74373, serial number XXXXXXXXX - Answered by a verified Technician. We use cookies to give you the best possible experience on our website. ... I have a toro 42 inch zero turn. I was cutting grass and.
This video will show you how to replace a hydrostatic drive belt on a Toro Timecutter zero turn lawnmower. This repair is done with with 4 basic tools and do... This step-by-step repair guide gives instructions for replacing the ground drive belt on a zero-turn riding mower. The ground drive belt connects the engine crankshaft to the transaxle pulleys to drive the mower wheels. If the ground drive belt is worn or broken, the mower moves sluggishly or won't move at all. Toro Ss5000 Drive Belt Diagram. 26.02.2019. 26.02.2019. 7 Comments. on Toro Ss5000 Drive Belt Diagram. Hopefully this is the right one for you. I need a drive belt diagram for a toro ss - 2d9d Toro TimeCutter SW Manual Online: Hydrostatic Drive Belt Installation, Transaxle Replacement, Transaxle Removal. 1. Toro 74720, TimeCutter SS 4200 Riding Mower, 2016 (SN 316000001-316999999) 42 INCH DECK, BELT AND BLADE ASSEMBLY Exploded View parts lookup by model. Complete exploded views of all the major manufacturers. It is EASY and FREE
Learning how to drive a bobcat zero turn lawn tractor will likely take longer than actually completing maintenance on the mower belt. Bobcat zero turn drive belt diagram. Feb 11 2012 husqvarna ez4824 24 hp 48 zero turn lawn. How to replace the drive belt pump belt on a cub cadet rzt 50 zero turn mower with taryl duration. Taryl fixes all 116000 ... 0 - mph. Need diagram so i can change belt on toro timecutter z riding lawn mower. Posted by shawnmeade on Oct 05, SOURCE: I need a toro z drive belt diagram as my belt. I have the same problem and juts figer that out and put back on but still not working, Posted on May 02, View and Download Toro TimeCutter SW service manual online. Toro , TimeCutter SS Riding Mower, (SN Riding Mower, (SN ) BELT AND IDLER ASSEMBLY Parts Diagram . Displaying BELT AND PULLEY ASSEMBLY parts for the Toro - Toro TimeCutter SS Zero-Turn Mower (SN: - ) (). The Toro SS riding mower is designed to cut grass on well-maintained lawns in a residential setting. I need a drive belt diagram for a toro ss zero turn mower. Posted by Anonymous on Jul 27, How to reinstall the main drive belt on a Toro Timecutter 42" zero turn mower. Toro TimeCutter SS 50 in. 22HP Smart Speed V-twin Zero-Turn Riding Mower; Open Questions. Apr 15, · Re: drive belt installation on a toro ss does the idler pulley go to the ...
SureFit Deck Drive Belt Replaces Toro 133-1168 115-4972 60" Titan ZX6000 ZX6050 ZX6030 ZX6020 MX6080 MX6000 Mowers. 4.2 out of 5 stars 13. 1 offer from $25.99. Ajanta OEM Replacement Belt (5/8x184 7/8) 115-4972, 133-1168 Compatible with Toro Titan Zero Turn mowers with 60" Deck.
Toro SS5000 Drive Belt Replacement. The Toro SS5000 riding mower is designed to cut grass on well-maintained lawns in a residential setting. Over time, the drive belt that controls the blades may ...
Toro Timecutter Ss 5000 Manuals Manualslib. Toro timecutter ss5000 drive belt 74637 ss 5000 riding charging problems 74630 electrical problem zero turn 74731 12 volt starter wiring diagram 74631 manuals fender stratocaster with wire harness 136 9184 or selenoid lawnsite is 7482 2011 2018 mx zs service 3200s mower interactive manual 50 inch 23 hp 3200 operator s pdf purchase up to 60 off 74726 ...
Cut mowing time up to 50%* with zero-turn steering, giving you a gorgeous lawn and more time to enjoy it. Cut With the Best - Feel like a pro with commercial-grade features like a single-action lever for simple deck height adjustment. Designed to give your mower powerful performance to cut through the nastiest lawns.
Sep 26, 2015. #3. logan01 said: just follow the manual. The included link offers free downloads of the owner's and service manual as well as the parts catalog. Very nice. Toro | TimeCutter SS5000 - Zero Turn Lawn Mowers Scroll down a bit and click on "manuals".
These Toro Lawn Tractor Parts may include: Tune Up Kit, Spark Plug, Mower Blades, Traction Drive Belt, Transmission Belt, Mower Drive Belt, Batery, and Air Filters. If you need help finding Toro Lawn Tractor Parts Search Using Weingartz Illustrated Diagrams to view an illustrated diagram or call us at 1-855-669-7278.
Toro 74375, TimeCutter Z5060 Riding Mower, 2008 (SN 280000001-280999999) 50 INCH DECK SPINDLE AND BELT DRIVE ASSEMBLY Exploded View parts lookup by model. Complete exploded views of all the major manufacturers. It is EASY and FREE
DECK ASSEMBLY diagram and repair parts lookup for Toro 75213 - Toro 60" TimeCutter HD MyRide Zero-Turn Mower (SN: 400000000 - 401999999) Order Status Customer Support 512-288-4355 My Account Login to your PartsTree.com to view your saved list of equipment.
Get a beautiful, professional-looking lawn. Built To Last - TimeCutters come with a Toro IronForged™ deck engineered for years of reliability and top performance. More Time For You - Cut mowing time up to 50%* with zero-turn steering. You'll be amazed how quickly the 50" deck works around obstacles. Features.
This video from Sears PartsDirect shows how to replace a ground drive belt in some Toro zero-turn riding mowers. The ground drive belt connects the engine cr...
Toro Timecutter Mx5050 Drive Belt Diagram Read Toro Timecutter Mx5050 Drive Belt Diagram PDF on our digital library. 18.11.2018 18.11.2018 6 Comments on Toro Mx5000 Wiring Diagram. Be sure to read your owners manual for full details before you start. How to replace a troybuilt zero turn mower drive belt in under 3 min the easy way. 54460 .
Sunshade, Zero-Turn-Radius Riding Mower Model #: 117-5319 54in/60in Striping Kit, Zero-Turn-Radius Riding Mower ... Toro Product Type Riding Products Product Series Zero Radius Turn, Consumer ... Drive System: Ground Speed Fwd. 0 - 7.5 Rev. 0 - 3.8 mph
The driving belt slipped on my Toro Timecutter SS4225 42 in. zero turn riding mower. 1. I need reliable instructions on how to access the drive belt and a diagram showing how the belt is installed. 2. In addition, the mounting bolt for the electric clutch won't come out.
0 Response to "37 toro zero turn drive belt diagram"
Post a Comment