Iklan 300x250

40 john deere rx75 parts diagram

In "Taryl Goes To The Dentist", another hilarious and informative how-to video, Taryl goes to the dentist over a sore tooth before showing you how to... John Deere tractors, combines & lawn mowers service repair manuals, wiring diagrams, fault codes list; john deere parts catalog download. John Deere Parts Catalog Download. Title. File Size.

John deere rx63 rx73 rx75 sx75 rx95 sx95 riding mowers repair manual & service manual is in pdf format so it will work with computers including win, mac etc.you can easily view, navigate, print Technical manuals are divided in two parts: John deere rx63 rx73 rx75 riding mowers service manual.

John deere rx75 parts diagram

John deere rx75 parts diagram

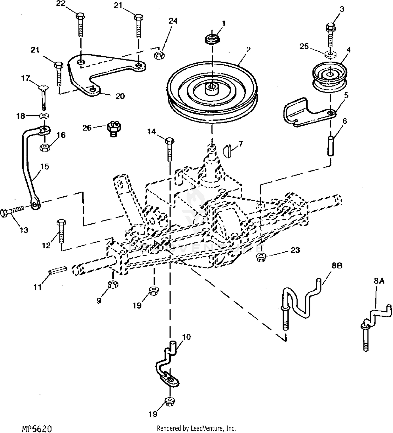
Save this Book to Read john deere rx75 parts diagram PDF eBook at our Online Library. The John Deere RX75 is equipped with gear type transmission (seven forward and one reverse gear), disc brakes, and manual sector and pinion steering. This lawn mower used open operator station, 3.8 L (1.0 US gal.) fuel tank, and mid-mount 760.0 mm (30 in) mower deck with manual lift and one blade. Tractordata Com John Deere Rx75 Tractor Photos Information. Wiring Diagram Database John Deere Rx75 Parts Diagram. Regardless if you are aware about it or not, you can find John Deere Rx75 Wiring Diagram harness assemblies all around you.

John deere rx75 parts diagram. JOHN DEERE RX RIDING john deere rx75 owners manual pdf MOWER Service Repair Workshop Manual provides step-by-step. Some of the parts available for your John Deere RX75 include Lawn and Garden and Specialty Belts, Seats Cab Interiors, Sunbelt - Air Filters, Sunbelt - Belts, Sunbelt... John Deere Rx75 Service Manual As recognized adventure as competently as experience practically lesson amusement as with ease as contract can be gotten by just checking out a books john deere rx75 service manual after that it is not directly done you could take on even more as regards this life... John Deere PARTS LOOKUP. RX63-RX73-RX75-SX75-RX95-SX95-RIDING-MOWERS Parts Diagram. John Deere Wiring Schematic Diagrams.pdf. John Deere 25 COMBINE HEADER TRANSPORT FRAME parts catalog. John Deere 132 BELT PICKUP WITH PLATFORM parts catalog.

You Might Also Like This Photos Or Back to John Deere Rx75 Parts Diagram. Led Light Wiring Diagram. Ford Ranger Front Suspension Diagram. Partial Solar Eclipse Diagram. Jeep Grand Cherokee Tie Rod Diagram. Model: Mower RX63, RX73, SX75, RX95, SX95 (TM1391) Language: English Format: PDF John installation instructions, special instructions, other additional information for John Deere RX63 like pictures and diagrams which you can help you determine the installation location spare parts, etc. Sep 9, 2014 - John Deere RX75 Parts Manual | parts schematic and parts list wiring diagram and electrical parts ... Find this Pin and more on John Deere RX75 by Wendy Miller French. Search and buy parts for your John Deere equipment including ag parts, lawn mower parts, maintenance parts, and more. Search our parts catalog, view operator's manuals, or find your equipment's quick reference guide.

I printing the schematic in addition to highlight the signal I'm diagnosing to be able to make sure I am staying on the path. John Deere Rx75 Wiring Diagram Source When installing or exchanging wiring or gadgets, all of the parts you utilize must have the suitable amperage rating with regard to the circuit. John deere model rx75 rear engine rider parts. But now i also need a diagram or description on how the belt goes on the 30 deck corey ood i need a belt pattern diagram for the rx75 john deere. John Deere RX75 Riding Lawn Mower featured with 9HP Kawasaki 290cc 1-cyl gasoline, 7-speed mechanical variable transmission, 4×2 2WD chassis, disc brakes, and 7 Now, let's find out the John Deere RX75 Riding Lawn Mower Price, Parts Specs, Reviews, Serial numbers & Images. Also Check John Deere RX75 Parts The RX75 Rear Engine Riding Lawn Mower was produced from 1987-1990. Standard features included a 9 HP Kawasaki Engine, 7 Amazon.com: john deere rx75 parts To find more books about john deere rx75 owners manual, you can use related keywords : Similar Books to...

John Deere Rx75 Riding Mower 9 H P Electric Start Pc2106 M0rx75x010001 100000 1990 Rx75 Riding Mower 9 H P Electric Start Pc2106 M0rx75x420001 475000 1987 Rx75 Riding Mower 9 H P Electric Start Pc2106 M0rx75x475001 595000 1988

John Deere Rx75 Riding Mower 9 H P Electric Start Pc2106 M0rx75x010001 100000 1990 Rx75 Riding Mower 9 H P Electric Start Pc2106 M0rx75x420001 475000 1987 Rx75 Riding Mower 9 H P Electric Start Pc2106 M0rx75x475001 595000 1988

Rx75 John Deere The John Deere RX75 is a riding lawn mower with small single cylinder Kawasaki FC290V vertical engine (286 cc, 17.45 cu-in) and gear John Deere Rx75 -For Sale - Shoppok RX75 Some of the parts available for your John Deere RX75 include Lawn and Garden and Specialty Belts...

Belt Diagram For John Deere L110 Welcome To Buy Whathifi In

Belt Diagram For John Deere L110 Welcome To Buy Whathifi In

John deere lawn tractor parts. Do you know the thought of john deere rx75 mower parts diagram we present to you here is related to t...

Weingartz Com

Weingartz Com

John deere model rx75 rear engine rider parts. Need mower deck belt diagram for a deere rx75 riding mower. John Deere Rx75...

John Deere Rx75

John Deere Rx75

Huge selection of John-Deere RX75 Parts and Manuals The John Deere RX75 is equipped with gear type transmission (seven forward and one reverse gear), disc brakes, and manual sector and pinion steering. This lawn mower used open operator station, 3.8 L (1.0 US gal.) fuel tank, and mid-mount...

John Deere Rx63 Rx73 Rx75 Rx96 Sx75 Sx96 Diagnostic And Repair Technical Manual Riding Mowers Youfixthis

John Deere Rx63 Rx73 Rx75 Rx96 Sx75 Sx96 Diagnostic And Repair Technical Manual Riding Mowers Youfixthis

John deere rx75 parts manual parts schematic and parts list wiring diagram and electrical parts. More information find this pin and more on john deere rx75 by wendy miller french. Rx75 Deere Keeps Spitting The Mower Deck Belt Adjustments. John Deere L120 Belt Diagram Jerusalem House.

Weingartz Com

Weingartz Com

John Deere parts lookup tool and diagram is an incredible online source. It is a complete catalog that shows you detailed parts diagrams of every part of Searching for your John Deere parts online has never been easier. You can search the John Deere illustrated parts catalog to find what you need...

Solved I Am Needing A Diagram To Replace The Mower Deck Fixya

Solved I Am Needing A Diagram To Replace The Mower Deck Fixya

Related products for John Deere RX63-RX73-TX75-SX75-RX95-SX95 Lawn Tractors Service Manual PDF John Deere Parts ADVISOR 2021 makes it easy to find the model and parts you need. All JD vehicles are covered.

Rx75 Electrical Woes My Tractor Forum

Rx75 Electrical Woes My Tractor Forum

John deere model rx73 rear engine rider parts. I have the same problem with my rx 75. John deere foam pre cleaner for air filter m70283 3 224. John deere tractors gators lawn mowers and more pertaining to john deere sx75 riding mower parts diagram image size 600 x 600 px image source.

Green Parts Direct Com

Green Parts Direct Com

John Deere offers a range of technical and operator publications and training. A digital database of Operator, Diagnostic, and Technical manuals for John Deere Products. This subscription allows users to connect to machines with an Electronic Data Link (EDL) to clear and refresh codes, take diagnostic...

Green Parts Direct Com

Green Parts Direct Com

John Deere Jx75 Parts Diagram. 14sb Snap Ring Climbs Out Of Groove. You must glance intently at an electrical wiring diagram to comprehend. The cable needs to be 12.two Romex ideal approximately the first switch, then operate twelve.three Romex to the light and then on to the second...

Solved I Am Needing A Diagram To Replace The Mower Deck Fixya

Solved I Am Needing A Diagram To Replace The Mower Deck Fixya

John deere zero turn mower parts. Enter a john deere model or pin number. John Deere 160 Lawn Tractor Parts Diagram Html Au...

I Have A Deere Rx75 I Put New Drive Belts And When I Drive It It Wants To Jerk Sometimes I Would Like To Find Out What

I Have A Deere Rx75 I Put New Drive Belts And When I Drive It It Wants To Jerk Sometimes I Would Like To Find Out What

Tractordata Com John Deere Rx75 Tractor Photos Information. Wiring Diagram Database John Deere Rx75 Parts Diagram. Regardless if you are aware about it or not, you can find John Deere Rx75 Wiring Diagram harness assemblies all around you.

John Deere Rx63 Rx73 Rx75 Sx75 Rx95 Sx95 Riding Mowers Service Repair Manual By Fordcarservice Issuu

John Deere Rx63 Rx73 Rx75 Sx75 Rx95 Sx95 Riding Mowers Service Repair Manual By Fordcarservice Issuu

The John Deere RX75 is equipped with gear type transmission (seven forward and one reverse gear), disc brakes, and manual sector and pinion steering. This lawn mower used open operator station, 3.8 L (1.0 US gal.) fuel tank, and mid-mount 760.0 mm (30 in) mower deck with manual lift and one blade.

John Deere Z625 Z645 Z655 And Z665 Eztrak Residential Mower Technical Service Manual Tm113119 Truck Service Manual Store

John Deere Z625 Z645 Z655 And Z665 Eztrak Residential Mower Technical Service Manual Tm113119 Truck Service Manual Store

Save this Book to Read john deere rx75 parts diagram PDF eBook at our Online Library.

John Deere Rx75 30 Inch Mulcher Deck Gx85 Sx75 Sx95 300 00 Picclick

John Deere Rx75 30 Inch Mulcher Deck Gx85 Sx75 Sx95 300 00 Picclick

Solved Looking For Free Download Of Manual For John Deere Fixya

Solved Looking For Free Download Of Manual For John Deere Fixya

John Deere Rx75 Riding Mower Complete For Parts Not Working 199 99 Picclick

John Deere Rx75 Riding Mower Complete For Parts Not Working 199 99 Picclick

John Deere Gx75 Belt Routing Diagram

John Deere Gx75 Belt Routing Diagram

John Deere Rx75 Riding Mower 9 H P Electric Start Pc2106 M0rx75x010001 100000 1990 Rx75 Riding Mower 9 H P Electric Start Pc2106 M0rx75x420001 475000 1987 Rx75 Riding Mower 9 H P Electric Start Pc2106 M0rx75x475001 595000 1988

John Deere Rx75 Riding Mower 9 H P Electric Start Pc2106 M0rx75x010001 100000 1990 Rx75 Riding Mower 9 H P Electric Start Pc2106 M0rx75x420001 475000 1987 Rx75 Riding Mower 9 H P Electric Start Pc2106 M0rx75x475001 595000 1988

Lawn Mower Parts Accessories Rx73 Rx75 Sx95 Technical Manual Tm1391 Ctm5 Cd John Deere Rx63 Sx75 Rx95 Home Garden

Lawn Mower Parts Accessories Rx73 Rx75 Sx95 Technical Manual Tm1391 Ctm5 Cd John Deere Rx63 Sx75 Rx95 Home Garden

Fuel Tank Engine Xtshzl6z Cw4w Eu Mitsubishi Catalog Partsouq

Fuel Tank Engine Xtshzl6z Cw4w Eu Mitsubishi Catalog Partsouq

John Deere L118 Parts Diagram Cheap Online

John Deere L118 Parts Diagram Cheap Online

John Deere L118 Parts Diagram Cheap Online

John Deere L118 Parts Diagram Cheap Online

John Deere Rx75

John Deere Rx75

Rx75 John Deere Wont Move Lawnsite Is The Largest And Most Active Online Forum Serving Green Industry Professionals

Rx75 John Deere Wont Move Lawnsite Is The Largest And Most Active Online Forum Serving Green Industry Professionals

13034 Thatcher Mounting Frame Kit Rx73 Rx75 Rx95 Sx75 Sx95 Srx75 Srx95 Gx70 Gx75 And Gx95 Riding Mowers Epc John Deere 14h785 Cce Online Avs Parts

13034 Thatcher Mounting Frame Kit Rx73 Rx75 Rx95 Sx75 Sx95 Srx75 Srx95 Gx70 Gx75 And Gx95 Riding Mowers Epc John Deere 14h785 Cce Online Avs Parts

Pin On John Deere Rx75

Pin On John Deere Rx75

John Deere Rx75 Complete 30 Inch Mower Deck Gx85 Gx75 Sx75 Srx75 Gx95 Ebay

John Deere Rx75 Complete 30 Inch Mower Deck Gx85 Gx75 Sx75 Srx75 Gx95 Ebay

John Deere Rx75 Riding Mower 9 H P Electric Start Pc2106 M0rx75x010001 100000 1990 Rx75 Riding Mower 9 H P Electric Start Pc2106 M0rx75x420001 475000 1987 Rx75 Riding Mower 9 H P Electric Start Pc2106 M0rx75x475001 595000 1988

John Deere Rx75 Riding Mower 9 H P Electric Start Pc2106 M0rx75x010001 100000 1990 Rx75 Riding Mower 9 H P Electric Start Pc2106 M0rx75x420001 475000 1987 Rx75 Riding Mower 9 H P Electric Start Pc2106 M0rx75x475001 595000 1988

John Deere Mower Repair Service Manual Choose Your Mower Instant Lawn Tractor Co

John Deere Mower Repair Service Manual Choose Your Mower Instant Lawn Tractor Co

Genuine John Deere Ignition Coil Miu13323 130 Gx70 Gx75 Rx63 Rx73 Rx75 Sx75 Heavy Equipment Parts Accessories Business Industrial Provee In

Genuine John Deere Ignition Coil Miu13323 130 Gx70 Gx75 Rx63 Rx73 Rx75 Sx75 Heavy Equipment Parts Accessories Business Industrial Provee In

Home Garden Rebuild Kit Fit John Deere M84223 Am121970 24h1682 Gx75 Rx75 Sx75 Rx95 Sx95 Gx95 Lawn Mowers Parts Accessories

Home Garden Rebuild Kit Fit John Deere M84223 Am121970 24h1682 Gx75 Rx75 Sx75 Rx95 Sx95 Gx95 Lawn Mowers Parts Accessories

Pin On John Deere Rx75

Pin On John Deere Rx75

1

1

John Deere 320 For Sale 9 Listings Tractorhouse Com Page 1 Of 1

John Deere 320 For Sale 9 Listings Tractorhouse Com Page 1 Of 1

Rx75 Belt Problem Diagram

Rx75 Belt Problem Diagram

John Deere Riding Mower Rx73 Rx75 Rx95 Sx75 Sx95 Operators Manual

John Deere Riding Mower Rx73 Rx75 Rx95 Sx75 Sx95 Operators Manual

Fix A Surging Engine John Deere Gx75 Kawasaki 9hp Complete Carb Cleaning Demo Youtube

Fix A Surging Engine John Deere Gx75 Kawasaki 9hp Complete Carb Cleaning Demo Youtube

Rx75 Drive Belt Replacement Needed Weekend Freedom Machines

Rx75 Drive Belt Replacement Needed Weekend Freedom Machines

John Deere Gx70 Gx75 Gx85 Sx85 Gx95 Srx75 Srx95 Mowers Service Manual

John Deere Gx70 Gx75 Gx85 Sx85 Gx95 Srx75 Srx95 Mowers Service Manual

0 Response to "40 john deere rx75 parts diagram"

Post a Comment

Iklan Atas Artikel

Iklan Tengah Artikel 1

Iklan Tengah Artikel 2

Iklan Bawah Artikel