40 john deere lx188 carburetor diagram
John Deere AG, Lawn & Garden and CWP Equipment Parts Search. John Deere parts lookup tool and diagram is an incredible online source. It is a complete catalog that shows you detailed parts diagrams of every part of your machine. This online parts catalog is robust and easy to use. Searching for your John Deere parts online has never been easier.
Service Schedule Parts for a John Deere LX178 Lawn Tractor & Parts List. While your John Deere machine is certainly built with quality parts, they have a limited life. Good news is you can easily service your machine yourself using a John Deere maintenance kit or service kits or by getting the specific John Deere part needed to keep your John Deere mower or tractor running for a long time.
John Deere LX188 Exploded View parts lookup by model. Complete exploded views of all the major manufacturers. It is EASY and FREE
 
    John deere lx188 carburetor diagram
View attachment LX 188 wiriing diagram.bmp View attachment electrical section from Tm1492.pdf ... View attachment LX188 carburetor info from TM1492 manual.pdf ... John Deere 318, 50in deck, 54in blade w/ power angle
Carburetor For John Deere LX178 LX186 LX188 LX277 LX279 LX289. Rated 5.00 out of 5 based on 3 customer ratings. ( 3 customer reviews) $ 69.79 $ 49.79. FREE SHIPPING! 4.8. Only 1 left in stock. Carburetor For John Deere LX178 LX186 LX188 LX277 LX279 LX289 quantity. 01234567890123456789.
About Press Copyright Contact us Creators Advertise Developers Terms Privacy Policy & Safety How YouTube works Test new features Press Copyright Contact us Creators ...
John deere lx188 carburetor diagram.
I looked on the message board and didn't see anything similar. I just purchased a used John Deere LX178 which hasn't been run for a year. It starts and runs on full throttle but not when I turn down the idle. I tried loosening the screen at the bottom of the carb bowl but it started leaking gas so I retightened it. I assume the carb needs cleaning.
John Deere LX188 Lawn and Garden Tractor Service Manual John Deere LX188 Lawn and Garden Tractor Technical Manual TM1492 660 Pages in .pdf format 41.0 MB in .zip format for super fast downloads! This factory John Deere Service Manual Download will give you complete step-by-step information on repair, servicing, and preventative maintenance for your John … Continue reading "John Deere LX188 ...
New carburetor with gaskets that fits John Deere LX178 tractors. This is the only carb available from Deere for a LX178. They all crossover to this carb. The part numbers are AM122614, M113714, M113713. These are all original OEM parts.
John deere model x300 lawn and garden tractor parts the machine identification a is located on right side of frame. The john deere mowers carburetor may need to be cleaned out or the air intake may need to be adjusted via the air adjustment needle valve or the fuel tank caps vent hole. John Deere 826 Snowblower Carburetor Engine Diagram And.
:welcome: Does grandpa have a funny sense of humour ? Only a few reasons why a carbs leak fuel 1) dirty fuel preventing the needle seating properly 2) dirty or damaged needle and or seat 3) cracked or warped bowl 4) broken, cracked float bowl gasket 5) wrong carb for fuel pump- excessive fuel supply pressure. 6) bad seal on the cut off solenoid As you got the mower for free, go to the JD web ...
John Deere LX188 Parts. Starter - 12 volt, 9 tooth, counter clockwise rotation. For tractor models LX178 from 1991 on, LX188 from 1992 on, 285 from 1987-92, 345 from 1995 on all with Kawasaki engines, 2243 from 1990 on with FD590V engine. Replaces 128000-5500.
DEERE LX172 LX173 LX176 LX178 LX186 LX188 LAWN . JOHN DEERE LX172 LX173 LX176 LX178 LX186 LX188 LAWN GARDEN TRACTOR repair manual & service manual is in pdf format so it will work with computers including WIN, MAC etc.You can Easily view, Navigate, print, Zoom in/out as per your requirements. We accept Paypal and All Credit Cards.
This is a Kawasaki Carburetor for John Deere tractors, part number AM128355. (number on carb is 32693) It fits model LX188, LX279 and LX289 John Deere Tractors. We have included the 2 mounting gaskets.
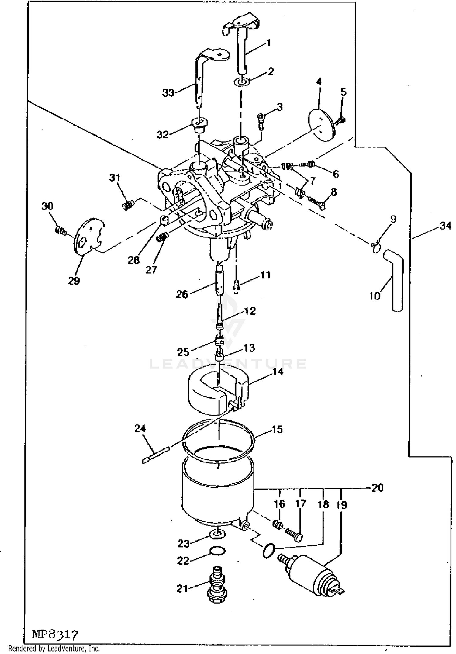
John deere lx188 parts diagram. Buy genuine oem john deere parts for your john deere lx188 lawn tractor with 48 in mower deck pc2317 carburetor lx188. The john deere lx188 was produced from 1992 to 1998 with options of 38 44 or 48 mower decks. Search part numbers and diagram s to identify the part you need. Wiring diagram for john deere lx188 ...
Page 2, John Deere Model LX188 Lawn Tractor Parts - ... John Deere Governor Arm to Carburetor Spring - M76108 (1) $1.75. Usually available. Add to Cart. Quick View. John Deere Green Paint - TY25624 (20) $11.97. Usually available. Select Options. Quick View. John Deere Headlight Bulb and Socket- AM128497 (8)
The John Deere LX188 was produced from 1992 to 1998 with options of 38", 44", or 48" mower decks. It came equipped with a hydrostatic drive transmission and 17hp Kawasaki Engine. Regular Maintenance should be performed on the LX188 every 50 hours and should include Spark Plug, Air Filter, Oil Filter with 1.8qts oil and sharpen or replace mower ...
Due to the employee strike at John Deere, we are not receiving estimated in stock dates for all parts and equipment. John Deere PARTS LOOKUP ENGINE-LX178-AND-LX188-AM122430-AM122431 Parts Diagram
Description: John Deere D105 Lawn Tractor Parts pertaining to John Deere Lx178 Parts Diagram, image size 410 X 410 px, and to view image details please click the image.. Honestly, we also have been noticed that john deere lx178 parts diagram is being one of the most popular subject at this moment. So we tried to uncover some good john deere lx178 parts diagram image for you.
I have a John Deere lx188 lawn tractor that is giving me fits lately. It started surging at idle and even during mowing when the PTO is engaged. I did some research on this problem and seems common. So I cleaned all the fuel lines and blew compressed air through them. Replaced the fuel filter. Removed the tank, emptied gas and cleaned it out.
Lawn Tractors published in 1991, by John Deere: Walk-Behind - Riders - Lawn Tractors - Residential Front Mowers published in 1996, by John Deere: Lawn Tractors published in 1993, by John Deere: Operator's Manual LX172, LX176, LX178, and LX188 (OMM120367) published in 1993, by John Deere
John Deere LX172, LX173, LX176, LX178, LX186, LX188 Lawn Tractors Technical Manual (TM1492) John Deere F710, F725 Front Mowers Technical Manual (TM1493) John Deere 21C, 21S, 25S, 30S, 38B Line Trimmers and Brush Cutters Technical Manual (TM1494)
John Deere Parts Lookup -John Deere-LX172, LX173, LX176, LX178, LX186 AND LX188 LAWN TRACTORS
John Deere Parts Lookup -John Deere-LX188 Lawn Tractor Without Mower Deck -PC2317 1994 Model M0L188B090001-110000 LX188 Lawn Tractor Without Mower Deck -PC2317 1995 Model M0L188B110001-130000 LX188 Lawn Tractor Without Mower Deck -PC2317 1996 Model M0L188B130001-160000 LX188 Lawn Tractor Wi
I put my engine on a 1999 John deere gator and it has run good the LX188-Lawn-Tractor-With-48-IN-Mower-Deck--PC2317 Parts Diagram Belt Drive & Idlers LX176,LX178,LX186 and LX188: POWER TRAIN LX176,LX178 LX188-Lawn-Tractor-With-48-IN-Mower-Deck--PC2317 Parts Diagram Belt Drive & Idlers LX176,LX178,LX186 and LX188: POWER TRAIN LX176,LX178 Best ...
Spray carb cleaner and the hunting goes away temporarily then returns. Dealer cleaned carb twice and said I need new carb. Anyone had similar problem ? phillip: hi does anyone have a carburetor for a lx188 john deere kawasaki 17hp liquid cool if so please send me picture & price thanks to all that reply: Art Pupedis
John Deere Parts Diagrams, John Deere LX188 Lawn Tractor With 48-IN Mower Deck -PC2317 AIR CLEANER & INTAKE MANIFOLD LX178,LX188: FUEL AND AIR AIR CLEANER LX172,LX176: FUEL & AIR
John Deere Model LX188 Lawn Tractor Parts - ... John Deere Carburetor Repair Kit - AM117347 (0) $43.44. Usually available. Add to Cart. Quick View. John Deere Complete High-Back Seat Assembly - AM144590 (2) $283.62. Usually available.
Operator's Manual LX172, LX173, LX176, LX178, and LX188 (OMM134134) published in 1997, by John Deere Lawn & Grounds Care Sales Manual published in 1997, by John Deere Operator's Manual Grass Bagger or RX, SX, SRX, and GX Riding Mowers and LX Lawn Tractors (OMM115491) published in 1991, by John Deere
 
    
    Karburator sepeda motor untuk john deere,karburator sepeda motor asli oem kawasaki mikuni am128355 lx188 lx279 lx289 berisi 2 mesin cuci - buy karburator am128355 lx188 lx279 lx289,karburator sepeda ...
 
     
     
     
     
     
     
     
     
     
     
     
     
     
     
     
     
     
     
     
     
    
0 Response to "40 john deere lx188 carburetor diagram"
Post a Comment