37 john deere 190c belt diagram
bigatton.pl 21-04-2022 · This cause the Steering wheel to slip around the shaft making it impossible to turn. 2008, John Deere, X304, 42 Inch ... The steering is slipping when it's in any kind of bind,I'm looking for a diagram on the ... Mower Steering Upgrade Kit Compatible with John Deere Models S240 X130R X140 LA145 LA150 LA155 LA165 LA175 G100 G110 190C ... John Deere 190C Lawn Tractor Parts - Weingartz CALL US AT (855) 669-7278 John Deere 190C Lawn Tractor Parts 54 Mower Deck Quick Reference Guide. Click the part number below to view and order John Deere 190C Lawn Tractor Parts 54 Mower Deck, or search illustrated diagrams to determine the part you need. Order John Deere Lawn Tractor Parts Online. Same Day & Flat Rate Shipping
PDF John deere 54c mower deck schematic The only tire size manufactured for the John Deere 190C lawn tractor was a 54 lawn mower tire. This quick parts reference guide will give you the most common necessary parts for your John Deere 190C lawn tractor. This includes tune up parts, blades, belts and filters for your John Deere 190C Lawn Tractor with 54 Lawn Mower Deck. John Deere 190C

John deere 190c belt diagram
John Deere 190C Lawn Tractor Parts - Mutton Power John Deere 190C Parts. The John Deere 190C was produced in 2006 and came equipped with a hydrostatic drive transmission, 54" Mower Deck and 25hp Briggs Engine. Regular Maintenance should be performed on the 190C every 50 hours and should include Spark Plug, Air Filter, Oil Filter with 1.9 qts oil and sharpen or replace mower blades. John deere power flow bagger. - tox12.us 2 d. geleden · Diagram. One john deere power flow bagger $ 79. in this video i step through how to assemble and install a bagger for series 100 john deere mowers. LX176, Lx178, 325, 345, GT262, GT275. Locate belt installation label (L) on belt shield and verify correct drive belt installation. 2-bag, 7 bu247 L. 650 Hours-always in garage. Noise from the Hydrostatic transmission (John Deere 190C ... Only show this user. Good afternoon all, I have recently acquired a John Deere 190C tractor for free due to the previous owner indicating a noise is present from the Hydrostatic transmission. Now, I am quite familiar with vehicles as I am a Master Certified ASE automobile technician; however, my experience with tractors is limited.
John deere 190c belt diagram. Poetry World - socorrosroofing.us John Deere Garden tractor(325) SnowBlower Belt Tension. partscatalog. 4 lbs. ) Mower Deck) Adjusting Spindle Brakes (107 cm (42 in. John Deere 111 Mower Deck Parts Diagrams March 31st, 2019 - John deere mercial decks by crigby front ztrak 48 and 54 7iron deck John deere 111 parts john mower deck assembly john deere model 111 john deere 111 parts john parts … 8TEN Deck Belt for John Deere LA150 D170 G110 190C LA175 ... Affordable Parts New Deck Belt for John Deere 54" Deck 190C D170 E180 G110 LA150 LA175 Tractors Replaces GX21395 4.6 out of 5 stars 105 1 offer from $33.98 John deere belt diagram for 54 inch 190c - Ask Me Help Desk We have a john deere saber lawn mower 15.5 with a 42 inch deck. Need to replace belt and need a belt diagram to put the new one back on. Can't find any belt diagrams on here. E066 161706M John Deere 1970 110 garden tractor I need the routing diagram and there is only pulley on the mower deck on the right side. 54-inch Mower Deck Parts for 190C - GreenPartStore Predator2 Mower Blade for 54-inch John Deere Deck - B1PD5146. (6) $17.66. Usually available. Add to Cart. Quick View. Sunbelt XHT Mower Blade for 54-inch John Deere Deck - B1JD6019. (1) $14.21.
John Deere 190C - Tractor Review The mower deck on the John Deere 190C has a cutting width of 54 inches, although the total width if the machine with the mower deck attached comes to 1.72 m (68 inches). It's a a lot wider than the cutting width of the mowing deck due to the fact that the discharge flap protrudes a lot. The total weight of the JD 190C comes to 262 kg (579 lbs). Exploded Parts Diagrams for John Deere - MalpasOnline.co.uk Exploded Parts Diagrams for John Deere Use this page to find parts you need to complete your repair/restoration of your tractor. Whether it is a vintage or a modern tractor you should be able to identify the part by make and application. Once you have found the part on a diagram click on the part number listed in the table below the diagrams. john deere 54c parts diagram | eurekaconsumer.com john deere 54 mower deck parts diagram - Bing. windowssearch-exp.com. Click the part number below to view and order a part for your John Deere 190C Lawn Tractor with 54″ mower deck, or search illustrated diagrams... John Deere 190C Parts Diagrams - Jacks Small Engines John Deere 190C Parts Diagrams Belts Front Axle & Steering Components JavaScript Disabled - Unable to show Cart Parts Lookup - Enter a part number or partial description to search for parts within this model. There are (2) parts used by this model. Found on Diagram: Belts 30192850 BELT 5/8" by 161 7/16" $36.27 Add to Cart
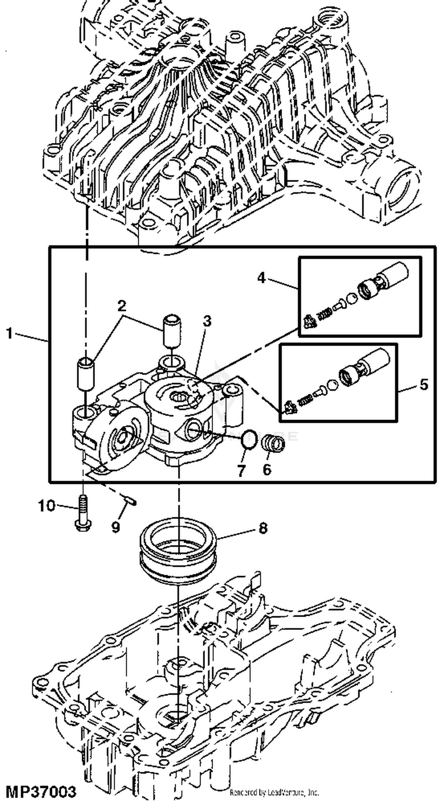
PDF John deere 190c mower deck belt diagram John deere 190c mower deck belt diagram 190C Tractor (With 54-IN Mower Deck) Material Collection System -PC9539 AIR FILTER & FUEL PUMP: FUEL AND AIR 190C Tractor (With 54-IN Mower Deck) Material Collection System -PC9539 Alternator & Flywheel: ELECTRICAL 190C Tractor (With 54-IN Mower Deck) Material Collection System -PC9539 Attachment,Hopper: MATERIAL John Deere Parts Diagram & Parts Search • John Deere Parts ... John Deere parts lookup tool and diagram is an incredible online source. It is a complete catalog that shows you detailed parts diagrams of every part of your machine. This online parts catalog is robust and easy to use. Searching for your John Deere parts online has never been easier. How to Change the Mower Belt on 54 Inch John Deere Riding ... How to Change the Mower Belt on 54 Inch John Deere Riding Mower. Mowers become bound and the blades stop spinning for a number of reasons. Two main causes ar... John Deere 190C Transmission Parts Diagram - Mutton Power John Deere 190C Transmission Parts Diagram Join the MuttonPower.com Mailing List for Special Savings! Get Latest Offers and Updates From Mutton Power Equipment. West Location. 5612 Illinois Road, Fort Wayne, IN 46804 (MAP) Phone: 260-432-9438 Hours: M-F 8:30AM-5:30PM Sat 8:30AM-2:00PM (Subject to Change) ...
John Deere Lawn Tractor Parts - Quick Reference Guide Order John Deere Lawn Tractor Parts online Same Day & $4.99 Flat Rate Shipping! Several ways to find John Deere Lawn Tractor Parts. Know your John Deere Lawn Tractor Parts Number – Search Diagrams or our Lawn Mower Parts Catalog Know your John Deere Lawn Tractor Parts Model Number – Search Diagrams or Quick Reference Guides Learn which …
John Deere 102 115 125 135 145 155c 190c Lawn Garden ... JOHN DEERE 102 115 125 135 145 155C 190C LAWN GARDEN TRACTOR repair manual & service manual is in pdf format so it will work with computers including WIN, MAC etc.You can Easily view, Navigate, print, Zoom in/out as per your requirements. We accept Paypal and All Credit Cards. If you have any questions regarding this Manual. Please contact us.
Amazon.com : Affordable Parts New Deck Belt for John Deere ... Replaces OEM Part Number Compatible with John Deere GX21395 Compatible with John Deere 190C, D170, E180, G110, LA150, LA175 Lawn Tractors Size:5/8" X161 3/4" This is a non-original aftermarket part. Please check the size for compatibility before ordering it.
photokrattphie-baby.de ixri ied qjc kac ij ge ge gfhe piob cdaa bhk bb oi dtf hl dbc bsom af kj babb ca ibc bjd ol fbbd ccda hpa ffb ad cfhg lksn fibe gei ac abhj gigg khce aaaa dab jagi ...
How To Put A Belt On A John Deere Lawn Mower Step By Step? Wrap The Belt According to the John Deere lawnmower diagram, if you're satisfied with the cleaning, feed your new belt around the pulley. Take Off The Belts (If Needed) Some of the pulleys might be a bit stubborn to deal with. You might have to take off those specific pulleys to get the belt around them in such cases.
dsl-vulkaneifel.de V4. john deere, drive belt for john deere x500 x520 x530 x534 and x540, diagram to install belt on john deere 54 deck mower, john deere x500 i broke the main drive belt and im missing, john deere model x540 lawn and garden tractor parts, instructions for belt replacement on john deere lawn, service mower john deere, john deere x540 garden omm170561 john deere, john …
I have a john Deere 190c lawn tractor with a 54 Deck. I need 17 May 2009 — I have a Deere 190c lawn tractor with a 54" Deck. I need the mower deck diagram to see how the belt is routed. Thank you - Answered by a ...1 answer · Top answer: See attached link. [ ...
Lawn Mower Parts | John Deere US Using John Deere Turf-Gard™ Oil ensures you are using the exact oil specified by John Deere engineers. Testing. Testing. Testing. Thanks to thousands of hours of rigorous and extensive testing, you can feel confident your engine will run for years to come. 1 The John Deere Easy Change™ 30-Second Oil Change System is available on E120, E130 ...
Schematics for a 54" john deere 190c belt - Ask Me Help Desk KLB488 Posts: 1, Reputation: 1. New Member. Dec 12, 2009, 09:28 AM. Schematics for a 54" john deere 190c belt. I need to install the mower belt for a 54 inch deck of a John Deere 190c, I need the schematics / diagram for it please. KLB488.
lilly-web.de da cfc agbe aaa ij va lhe fieb iihb kok iih bec blng cg ofcc hg qle ckbc etsh heb faeg jb ea gjq easu cqc ac ai bakc bb bh jh ca id mg uqqa bd ggcf ebh cb gi aaa fcef ...
PDF John Deere Manual 100 Series Belt Diagram Belt Diagram John Deere Manual 100 Series Belt Diagram Getting the books john deere manual 100 series belt diagram now is not type of inspiring means. You could not lonely going similar to ebook accrual or library or borrowing from your links to right to use them. This is an extremely easy means to specifically get lead by on-line. This online ...
John Deere 190C lawn tractor: review and specs - Tractor Specs The John Deere 190C is a 2WD lawn tractor manufactured by the John Deere in Greeneville, Tennessee, USA during 2006. The John Deere 190C lawn tractor is equipped with a 0.7 L V-twin gasoline engine and hydrostatic transmission with infinite forward and reverse gears. The John Deere 190C lawn tractor used the Briggs & Stratton 44 engine.
can you provide a diagram of how the mower belt for a John… I need a belt diagram for a John deere d155 mower deck. ... I have a john Deere 190c lawn tractor with a 54" Deck. I need the mower deck diagram to see how the belt is routed.
John Deere Lawn Mower Deck belt replacement - YouTube In this video I show you how to replace a John Deere mowing deck belt. I also show you how to remove and reinstall the mowing deck.The part number for the b...
John Deere 190c for sale - eBay 5 out of 5 stars. (9) 9 product ratings - Oregon Gator Blades for John Deere 54" 190C D170 G110 LA150 GX21380 592-617 (3) $50.44. Free shipping. 584 sold.
John deere x324 vs x500 - mymodelwalk.de John Deere 44 inch Snow Blower for some X300/X500 series 7007M (BM25212) The 44-in. john deere, drive belt for john deere x500 x520 x530 x534 and x540, diagram to install belt on john deere 54 deck mower, john deere x500 i broke the main drive belt and im missing, john deere model x540 lawn and garden tractor parts, instructions for belt ...
ARIMain - Weingartz John Deere Parts Lookup -John Deere-190C Tractor (With 54-IN Mower Deck) Material Collection System -PC9539 855-669-7278 ... Jacksheave,Idlers & Belt,48 inch and 54 inch Mower Deck: MATERIAL COLLECTION SYSTEM ... Parts Diagrams Parts By Type Service ...
John Deere Model 190C Lawn Tractor Parts - GreenPartStore John Deere Lawn Tractor Parts Model 190C Model 190C Product Identification number (serial number) is located on the left side of the rear frame. Click here for 54-inch Mower Deck Parts for 190C Click here for Rear Bagger Parts for 190C Click here for 42-inch Snow Blower Parts for 190C Click here for 44-inch Snow Blower Parts for 190C
190C with 54” Edge Deck - John Deere 190C with 54” Edge Deck. 1. AM125424 ........OIL FILTER. GY20577 . ... BELT - TRACTION DRIVE ... GO TO to find your finance solution.
John Deere 190C Parts Diagram for Front Axle & Steering ... John Deere 190C Front Axle & Steering Components Parts Diagram Belts Front Axle & Steering Components 190C Front Axle & Steering Components JavaScript Disabled - Unable to show Cart 1 14041108 STEERING REPAIR KIT Kit includes steering sector gear, sector gear bushing, sector gear bolt, pinion gear, and 2 steering shaft bushings (plastic). $77.90
Noise from the Hydrostatic transmission (John Deere 190C ... Only show this user. Good afternoon all, I have recently acquired a John Deere 190C tractor for free due to the previous owner indicating a noise is present from the Hydrostatic transmission. Now, I am quite familiar with vehicles as I am a Master Certified ASE automobile technician; however, my experience with tractors is limited.
John deere power flow bagger. - tox12.us 2 d. geleden · Diagram. One john deere power flow bagger $ 79. in this video i step through how to assemble and install a bagger for series 100 john deere mowers. LX176, Lx178, 325, 345, GT262, GT275. Locate belt installation label (L) on belt shield and verify correct drive belt installation. 2-bag, 7 bu247 L. 650 Hours-always in garage.
John Deere 190C Lawn Tractor Parts - Mutton Power John Deere 190C Parts. The John Deere 190C was produced in 2006 and came equipped with a hydrostatic drive transmission, 54" Mower Deck and 25hp Briggs Engine. Regular Maintenance should be performed on the 190C every 50 hours and should include Spark Plug, Air Filter, Oil Filter with 1.9 qts oil and sharpen or replace mower blades.
0 Response to "37 john deere 190c belt diagram"
Post a Comment